Vložka/hřídel differáku MT16

Pochlubte se svými zlepšováky. Nebo zde hledejte inspiraci.
Pravidla fóra
Pochlubte se svými úpravami, vychytávkami, doplňky. Diskutujte o úpravách, nad jejichž provedením si lámete hlavu.
Ivan131
Příspěvky: 13
Registrován: 28 čer 2016, 07:52
Bydliště: Rudná, Středočeský kraj

Vložka/hřídel differáku MT16

Nový příspěvek od Ivan131 »

Zdar pánové,
kompletuju diferák na MT16. Chybí mi akorát talíř (klasika - asi se rozpad, hruška u toho byla ale brutálně okousaná) a hřídel/distanční vložka celého diferáku zakroužkovaná na obrázku. Kučera to na shopu nemá, v reichu maj vyprodáno a od poláků to nehodlám kupovat samotný - jaksi jsem už vše ostatní nakoupil. Ve Zloníně minulý týden jsem to taky nenašel, a talíř s hruškou mi poláci chtěli prodat za 4500,- :lol: :lol: :roll:

Poprosil bych nějákého trochustrojaře, co to má vyndané, jestli byste mi to nenaměřili a nenačrtnul. Jde mi hlavně o délky a umístění schodu a o rozměr vnitřního průměru. Zbytek si dohledám podle předepsaných vůlí na ložiska a uložení podle strojírenských tabulek. ;)
Dík moc
Přílohy
Capture.JPG
MT-16 rv. 1993
ČZ 175 477.1
Uživatelský avatar
Ciza
Příspěvky: 40
Registrován: 19 říj 2015, 11:35
Bydliště: Libiš, středočeský kraj
Kontaktovat uživatele:

Re: Vložka/hřídel differáku MT16

Nový příspěvek od Ciza »

Zdravím, mám to rozebrané, kouknu na to a dám sem míry. Budu muset také řešit, neb jedno osazené ložisko bylo na volno a vyfrézovalo mi do té vložky ozdobnou drážku :cry:
Dněpr MT-16 r.v.1993
Yamaha XV1600 Wildstar
Uživatelský avatar
Ciza
Příspěvky: 40
Registrován: 19 říj 2015, 11:35
Bydliště: Libiš, středočeský kraj
Kontaktovat uživatele:

Re: Vložka/hřídel differáku MT16

Nový příspěvek od Ciza »

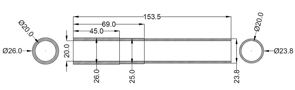
jak jsem slíbil tak jsem změřil a přikládám rozměry
Přílohy
osa.jpg
osa.jpg (48.8 KiB) Zobrazeno 6008 x
Dněpr MT-16 r.v.1993
Yamaha XV1600 Wildstar
Ivan131
Příspěvky: 13
Registrován: 28 čer 2016, 07:52
Bydliště: Rudná, Středočeský kraj

Re: Vložka/hřídel differáku MT16

Nový příspěvek od Ivan131 »

Zdar,
tak výkres super, děkuju. Dostanu se k tomu příští tejden, kdy vyrobim regulérní výkres i s tolerancema. Ještě bych poprosil do tý vložky štrejchnout pilníkem, případně dle zbarvení zhodnotit, jestli to je v některých místech/celý cementovaný/tepelně upravený. Asi to ale bude měkký, aby právě vložka byla obráběna tvrdými převody, a ne naopak :lol: . Když budeš chtít, tak se domluvíme a nechám vyrobit 2ks. Nejspíš ale výroba vyjde drážš, než to koupit někde z allegra od poláků. Nebo vyrobim jeden ks a pak můžu udělat druhej, když se bude líbit. :D
MT-16 rv. 1993
ČZ 175 477.1
Uživatelský avatar
Ciza
Příspěvky: 40
Registrován: 19 říj 2015, 11:35
Bydliště: Libiš, středočeský kraj
Kontaktovat uživatele:

Re: Vložka/hřídel differáku MT16

Nový příspěvek od Ciza »

Ta vložka je úplně obyčejná trubka na hrubo opracovaná na soustruhu, úplně obyčejné bláto asi něco takovéto http://www.ferona.cz/cze/katalog/detail.php?id=22923
Dněpr MT-16 r.v.1993
Yamaha XV1600 Wildstar
Uživatelský avatar
Ciza
Příspěvky: 40
Registrován: 19 říj 2015, 11:35
Bydliště: Libiš, středočeský kraj
Kontaktovat uživatele:

Re: Vložka/hřídel differáku MT16

Nový příspěvek od Ciza »

takto to vypadalo když jsem to rozebral, prostě bláto
Přílohy
20170209_193620.jpg
Dněpr MT-16 r.v.1993
Yamaha XV1600 Wildstar
Ivan131
Příspěvky: 13
Registrován: 28 čer 2016, 07:52
Bydliště: Rudná, Středočeský kraj

Re: Vložka/hřídel differáku MT16

Nový příspěvek od Ivan131 »

Tak má představa o funkci týhle součástky byla asi hodně naivní :lol: ... To vypadá, že to z kusu železnýho stromu vykousal bobr :D :D . Uvidim, třeba to zvládnu zfušovat při nějáký praxi ve škole, stejně bych se tam rejpal v nose nudou a mistr je taky veteránista...
MT-16 rv. 1993
ČZ 175 477.1
Uživatelský avatar
Ciza
Příspěvky: 40
Registrován: 19 říj 2015, 11:35
Bydliště: Libiš, středočeský kraj
Kontaktovat uživatele:

Re: Vložka/hřídel differáku MT16

Nový příspěvek od Ciza »

je to hrubá kovářská práce, účelem je pouze středit tyčku osy kola, všimni si ozdobného zářezu od ložiska, jak se vymezila vůle :lol:
Dněpr MT-16 r.v.1993
Yamaha XV1600 Wildstar
Odpovědět